Вы подбираете простейший способ сбора и частичной переработки канализационных стоков для своей дачи или дома сезонного проживания? Согласитесь, что обустройство канализации позволит существенно облагородить участок и сделает ваше пребывание за городом максимально комфортным. Обычная выгребная яма из бетонных колец справится с этой задачей, но вы не знаете, как правильно ее соорудить?
Мы поможем вам разобраться с этим видом септика — в статье рассмотрена конструкция ямы, популярные строительные схемы. Подробно разобран процесс проектирования выгреба из колец с расчетом нужного объема, описано поэтапное его сооружение.
Материал снабжен наглядными фотографиями и схемами, приведены видеорекомендации по строительству от опытных мастеров. Также рассмотрены способы декорирования технического отверстия.
Конструкция и назначение выгреба
Выгребные ямы, как и септики, служат для сбора канализационных стоков. Но это примитивные сооружения, не способные очищать жидкость.
В накопительных резервуарах отходы лишь частично распадаются, в отличие от ЛОС, где стоки делятся на твердые отходы и жидкость, которая в дальнейшем осветляется и достигает чистоты 60-98%.
Выгребной накопитель из бетонных колец
Канализационный объект для большой семьи
Модульный принцип возведения
Использование средств малой механизации
Организация выгребной ямы с переливом
Трехнамерный канализационный объект
Установка люка над канализационным колодцем
Канализационные колодцы на загородном участке
Все разновидности сливных ям можно разделить на две категории:
Для пользователей важными являются 2 отличия – устройство дна резервуара и частота вывоза отходов. Первый тип сохраняет весь объем канализационных стоков, поэтому его опустошают довольно часто, раз в 1-2 недели.
Для второго типа ям ассенизаторов вызывают реже, так как емкость заполняется чуть медленнее. Часть жидкости просачивается через своеобразный фильтр, заменяющий дно, и попадает в грунт.
Схема простейшей выгребной ямы. Обычно ее проектируют таким образом, чтобы объема резервуара было достаточно, и сливные массы не поднимались выше канализационной трубы
С первого взгляда, второй вариант более приемлемый, однако его можно задействовать только для переработки серых стоков.
При устройстве ямы без дна надо учитывать ряд факторов:
Если грунт на выбранном участке глинистый, не способный быстро впитывать воду, смысла делать фильтрующее дно нет. То же самое с водоносными горизонтами – присутствует риск заражения и нарушения экологической обстановки.
Существует множество решений выгребных ям: строят сооружения из кирпича, бетона или автомобильных покрышек. Наиболее надежными считаются бетонные конструкции и готовые пластиковые емкости.
Резервуары из бетона, созданные путем возведения опалубки и заливки, сложнее в строительстве, чем аналоги из готовых колец, на которых остановимся подробнее.
Схема сливной ямы с фильтрующим дном. Воздухозаборник выводится как можно выше, чтобы неприятный запах, характерный для канализационных накопительных емкостей не нарушал комфортное проживание
Выгреб из бетонных заготовок цилиндрической формы в готовом виде представляет собой колодец от 2 м до 4 м в глубину. Кольца в количестве 2-4 штук ставят одно на другое, герметизируют швы.
Нижний элемент, в зависимости от вида ямы, может быть закрытым или полностью отсутствовать. Иногда вместо готовой фабричной заготовки на дно кладут бетонную плиту.
Верхнюю часть оформляют в виде горловины с техническим люком и плотно закрывающейся крышкой.
Основная накопительная часть резервуара заглублена примерно на 1 м, так как подводящая канализационная труба должна находиться ниже уровня промерзания грунта. Объем емкости подбирают, учитывая количество ежедневных стоков.
Чем привлекательны сливные ямы?
Главное преимущество накопителей – доступная стоимость. Именно по это причине многие останавливаются на простейшем устройстве вместо того, чтобы приобрести более дорогой и функциональный септик.
Выгреб удобен и для тех, кто приезжает на дачу редко – только в теплый сезон или исключительно по выходным.
Если канализационных стоков относительно немного и налажена регулярная откачка отходов, выгребная яма действительно подходящий вариант.
Но при больших объемах стоков лучше подобрать септик – более дорогое устройство, которое частично очищает отходы и сводит загрязнение садовой земли к минимуму.
Последнее возможно, если выбрана модель с фильтрующим колодцем или инфильтратором.
Схематичное изображение поглотительного колодца — выгребной ямы с фильтрующим дном. Условия монтажа: песчаный или супесчаный грунт, низкое расположение водоносных горизонтов, щебеночный фильтр мощностью не менее 1 м
Недостатки выгребной ямы, которые могут стать причинной отказа от ее строительства:
Желающие установить фильтрующее канализационное сооружение должны знать, что время от времени придется вместе с откачкой производить чистку и даже замену фильтра – гравийного или щебеночного слоя на дне ямы.
Обзор популярных строительных схем
Даже строительство двух основных типов выгребных ям может иметь нюансы. Рассмотрим особенности наиболее популярных схем из бетонных колец.
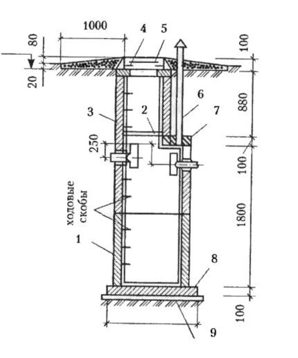
Первая схема – накопительный герметичный колодец из двух стандартных колец и одного более узкого кольца для горловины.
Схема с размерами: 1 – бетонная заготовка диаметром 1 м; 2 – деревянная крышка перекрытия; 3 – бетонная заготовка диаметром 0,7 м; 4 – кольцо горловины; 5 – люк; 6 – вентиляционная труба; 7 – перекрытие; 8 – бетонное дно; 9 – выравнивающая цементная стяжка
На следующей схеме хорошо видна разница между накопительной емкостью и резервуаром с фильтрующим дном.
Бетонный фильтрующий колодец имеет два принципиальных отличия: перфорированные стенки цилиндрических заготовок, образующих стенки, и полное отсутствие дна, которое заменяет фильтрующая загрузка из щебня
Третий вариант – модернизированный накопитель, примитивный септик.
Вместо одного резервуара устанавливают два: первый служит для механической очистки канализационных стоков, второй играет роль фильтрующего колодца. Процесс обработки анаэробными бактериями происходит в обоих отсеках
Использование двухсекционного накопителя с переливом более целесообразно, так как увеличивает степень экологичности. Иногда используют модели из трех отделений – чем их больше, тем эффективнее очистка стоков.
Краткий фото-мануал по сооружению ямы
Устройство выгребной ямы с применением бетонных колец включает ряд традиционных этапов.
Чтобы читатели могли наглядно представить процесс, мы предлагаем ознакомиться с фото-отчетом строителей:
Этап 1: Разработка котлована под выгребную яму
Этап 2: Доставка бетонных колец строительной техниой
Этап 3: Установка бетонных колец в подготовленный котлован
Этап 4: Корректировка положения кольца перед установкой
Этап 5: Нанесение связующего раствора на торец кольца
Этап 6: Монтаж перекрытия бетонной шахты
Этап 7: Бурение отверстий для ввода канализационных труб
Этап 8: Крепление пластикового люка выгребной ямы
Составление проекта и расчеты
Начав строительство без подготовки, вы рискуете нарушить санитарные нормы и создать устройство с ограниченными функциями. Чтобы выгребная яма работала на 100%, необходимо предусмотреть все нюансы и сложности строительства.
Шаг #1 — определение места для сливной ямы
При выборе места для выгреба важно учесть два момента: удобство обслуживания и соблюдение санитарных норм.
Соответственно, для облегчения процесса монтажа и лучшей функциональности всей канализационной системы резервуар необходимо устанавливать как можно ближе к дому.
Многие именно так и делают – зарывают емкость в 2-3 м от здания, не обращая внимания на запах и забывая о нормах и правилах использования сливных ям и различного рода септиков. К слову, рекомендуемое минимальное расстояние от ямы до дома – 5 м.
Схема, показывающая, на каком расстоянии от источников воды, деревьев и дороги должна находиться выгребная яма. К сожалению, нормы не всегда соблюдаются по причине ограниченной площади садового участка
Схему можно дополнить следующей информацией:
Основание фильтрующего сооружения должно находиться как минимум на 1 м выше, чем водоносный слой.
Для определения глубины залегания водоносных горизонтов лучше обратиться за сведениями в проектную или буровую организацию, проводившую в районе строительства инженерно-геологические изыскания или бурение водозаборной скважины.
Шаг #2 — расчет объема емкости
Для определения размеров и объема колодца необходимо сделать несложные математические вычисления. Если в доме постоянного проживания есть душ, туалет, стиральная машина, то на 1 человека приходится примерно 150-200 л канализационных стоков ежедневно.
Предположим, что вы хотите установить герметичный выгреб во дворе дома, где проживает 3 человека – получается 450-600 л в сутки.
Не забываем, что при подсчете учитываем как минимум 3-кратное количество, то есть еще раз умножаем на 3, получаем 1,35-1,8 м³. Это минимальный объем.
Размеры горловины и части колодца, расположенные выше входа канализационной трубы в расчет брать не нужно. То есть полученный объем – это параметры части, расположенной ниже трубопровода.
Иногда отталкиваются от сроков вызова ассенизаторов. Если эту же семью из 3 человек обслуживают каждую неделю, то получается: 150 л (200 л) х 3 х 7 = 3,15 м³ (4,2 м³). Один раз в две недели – 6,3 м³ (8,4 м³).
Бочки на ассенизаторских машинах не бездонные, в среднем вмещают около 3,5 кубометров отходов, поэтому наполненную до краев большую емкость осушить не смогут
Если коммунальное хозяйство или частная компания, обслуживающая ваш участок, имеет в парке транспорт с цистерной 6-8 м³, имеет смысл установить максимально объемный резервуар.
Шаг #3 — выбор бетонных колец
Объем выгребной ямы рассчитывают по размерам колец, поэтому легче приобрести модели из ассортимента компании, расположенной неподалеку, так как потребуется доставка.
Типовые размеры колец:
Кольца с такими размерами выпускают практически все заводы ЖБИ. Для небольшой семьи достаточно трех заготовок, плюс горловина и днище.
Железобетонные кольца (с указанием высоты, диаметра и толщины стенки) и дополнительных элементов для строительства колодцев и выгребных ям (+)
Строительство выгребных ям настолько популярно, что заводы стали выпускать полные комплекты для их устройства.
В набор входят:
Кольца могут быть обычными и перфорированными для поглощающих колодцев. Люк с крышкой приобретают отдельно.
Кроме стандартных бетонных колец метрового диаметра вы можете подыскать более габаритные заготовки.
Предпочтение следует отдавать кольцам с замковым соединением «паз-гребень», которое гарантирует более высокую степень герметичности и прочности готовой конструкции.
Железобетонные кольца для выгребной ямы
Установка кольца с помощью манипулятора
Бетонные кольца с замковой фаской
Собственноручное изготовление бетонного кольца
Шаг #4 — подготовка материалов и аренда техники
Кроме комплекта бетонных заготовок могут потребоваться следующие строительные материалы:
Не забывайте про ведра, лопаты и лебедки для выемки грунта.
Самостоятельно доставить бетонные кольца не представляется возможным – для габаритных и тяжелых деталей необходимо арендовать грузовой автомобиль.
Если на стройплощадке не предусмотрено лебедки, лучше заказать спецтехнику с манипулятором. Одному человеку не справиться. Единственное, что можно сделать самостоятельно – вырыть котлован.
Для монтажа заготовок необходимо как минимум 2-3 пары рабочих рук плюс водитель грузовика.
Вес железобетонной заготовки с диаметром 100 см и высотой 89 см – около 600 кг, поэтому монтаж бетонных колец происходит при помощи крана и бригады рабочих
Идеальный вариант – помощь знакомых, с которыми можно договориться о невысокой оплате. Если среди друзей нет водителей спецтехники и монтажников, можно арендовать машину и оплатить услуги бригады рабочих.
Часто помощь профессиональных монтажников предлагает компания, реализующая кольца для колодцев и сливных ям.
Инструкция по строительству выгребной ямы
Установка каждого конкретного резервуара имеет собственные нюансы, связанные с особенностями ландшафта, грунта, расположением канализационной сети и т.д. Мы же рассмотрим типовую схему устройства выгребной ямы.
Этап #1 — разработка котлована
Первый этап – земельные работы. Их можно выполнять в одиночку (долго, тяжело и бесплатно) или с помощью бригады (быстро и весело, но за деньги).
Если есть возможность, можно привлечь мини-экскаватор, тогда рабочие руки потребуются только для «шлифования» стенок и выравнивания дна котлована.
Форма и размеры ямы должны соответствовать конфигурации и габаритам резервуара. Соответственно, должен получиться круглый колодец, шириной превосходящий бетонные кольца на 0,3-0,5 м с каждой стороны по окружности.
Этот промежуток потребуется для заделки/утепления сооружения с внешней стороны и последующей засыпки с уплотнением.
Котлован для герметичной выгребной ямы, состоящей из 2 бетонных колец. Заглубление канализационной трубы – около 0,8 м, высота резервуара в готовом виде – 2,5 м
Есть один нюанс, о котором не следует забывать – это уровень промерзания грунта (информация актуальна для жителей средней полосы и севера России).
Канализационная труба для стоков и основная часть емкости должны находиться ниже этого уровня, чтобы система функционировала и в зимний период. Если вы проложите сеть у поверхности, при наступлении морозов жидкость просто замерзнет.
В связи с этим к размерам рабочей емкости необходимо прибавить высоту горловины, которая служит, по сути, техническим отверстием. Горловина должна выступать над уровнем земли на 15-20 см.
Таким образом, резервуар будет заглублен, как и канализационная труба, врезанная в него ниже уровня промерзания.
К началу строительных работ необходимо выровнять основание со стенками и прорыть канаву, ведущую от дома (бани, летней кухни, гаража) к сточной яме.
При устройстве канавы не забывайте, что во избежание засоров труба должна иметь уклон в сторону ямы – примерно 2 см на каждый метр.
Этап #2 — обустройство днища
Если вы устанавливаете обыкновенную накопительную емкость, дно, как и стены, должно быть герметично. Для сооружения из бетонных колец лучшим вариантом является заготовка из этого же материала.
Деталь специально предназначена для оформления нижней части колодца и по окружности имеет паз. Единственное, что необходимо для ее монтажа – ровное плотное основание.
Железобетонный элемент, оснащенный дном. Предназначен для устройства герметичных выгребных ям, служит альтернативой бетонной плите или цементной стяжке
Возможное оседание основы устраняют при помощи заливки цементной стяжки. Готовят ее по простой схеме: на каждую часть цемента – 4 части песка. Для прочности можно добавить щебень мелкой фракции в соотношении 1:6.
Массу готовят в емкости, затем выливают ее на всю площадь дна котлована и выравнивают. В течение недели бетонную стяжку слегка орошают водой, чтобы она не покрылась трещинами. Нижний элемент сооружения монтируют не ранее, чем через неделю.
Для тех, кто ценит время, существует боле практичное решение – готовая бетонная плита заводского изготовления. Ее кладут на ровное дно, а уже на нее ставят первое бетонное кольцо.
Фильтрующий колодец не имеет дна как такового. Вместо него готовят «подушку» – фильтр из строительных материалов, задерживающий твердый осадок и пропускающий жидкость в грунт
На засыпке из щебня или гравия селятся колонии анаэробов – бактерий, участвующих в процессе разложения и очистки отходов.
Толщина подстилающей засыпки различна:
Мощность фильтрующей засыпки, помещаемой в ствол колодца, должна быть не менее 1,0 м.
Расположение слоев следующее:
В отличие от бетонного резервуара, «подушка» и фильтр – сменные элементы. Когда они забиваются твердыми отходами и перестает пропускать жидкость, старую засыпку достают и помещают на дно ямы новую.
Этап #3 — монтаж бетонных колец
Первое кольцо, оснащенное дном, устанавливают прямо на бетонную плиту (или стяжку). Ровный монтаж детали – гарантия строго вертикального положения всей конструкции, без наклона и перекосов. На нижний элемент ставят второй и сразу же герметизируют шов.
Для заделки и гидроизоляции швов используют различные растворы, обмазочные и рулонные материалы. С помощью рубероида, приклеенного на битумный раствор, закрывают стыки и трещины с наружной стороны, для внутренних работ он не подходит.
Также слабым считается обычный цементный раствор: при подвижках грунта появляется его хрупкость, в результате чего он трескается и осыпается.
Существует множество современных модифицированных мастик и растворов, которые обладают достаточной прочностью и эластичностью. Некоторые из них можно наносить на влажные стыки или швы, которые уже находятся под давлением воды.
Задействуют различные способны гидроизоляции бетонного септика для защиты стенок от разрушительного воздействия агрессивной химической среды, которая часто содержится в канализационных стоках.
Гидроизоляция готового сооружения снаружи битумной мастикой. Проводится, чтобы защитить железобетон от влаги, находящейся в грунте, и увеличить степень герметичности
Вот некоторые из эффективных средств для уплотнения стыков и внутренней герметизации:
- Гидропломбы, которые расширяются при затвердевании, наглухо закрывая любые трещины. Примеры: Ватерплаг, Пенеплаг, Гидростоп. Их единственный минус – высокая стоимость.
- Растворы для нанесения на всю поверхность: Антигидрон, Гидротэкс, Бастион.
- Материалы для конопатки глубоких швов, пропитанные фиброрезиной Kiilto FIBERPOOL – шнуры и веревки из джута, льна, пеньки.
- Уплотняющие ленты из резины, например, RubberElast.
- Жидкое стекло, добавленное в цементный раствор
- Герметики на водной основе: Пенеплаг, Пенетрон, Пенекрит.
Качественная гидроизоляция обеспечивает целостность конструкции на срок до 35 лет.
Убедившись, что соединение между кольцами не пропускает воду, можно устанавливать следующую деталь.
Примерно на 20 — 30 см ниже глубины сезонного промерзания грунтов необходимо сделать входное отверстие для канализационной магистрали. На этом же этапе прокладывают трубу и подключают ее к резервуару. Место соединения тщательно герметизируют.
В северных областях трубы, проходящие выше глубины промерзания, дополнительно утепляют, как и верхнюю часть накопительного резервуара.
При грамотном подключении трубопровода выход магистрали должен находиться выше среднего уровня сточных вод. Верхняя часть резервуара остается свободной
На 3 или 4 кольцо монтируют горловину, затем – плиту перекрытия. В плите заводского изготовления предусмотрено круглое отверстие для люка. Еще одно отверстие, меньшего диаметра, необходимо для вентиляционной трубы.
Последний штрих – обратная засыпка. Если в грунт добавить сухой цемент, надежность конструкции увеличится, а риск разрушения подвижками грунта уменьшится.
Этап #4 — оформление технического отверстия
Лучшим вариантом наружного оформления является канализационный люк с плотно закрывающейся крышкой. Его недорогой аналог – просто деревянная крышка, закрепленная на петлях.
Люк необходим для обслуживания выгребной ямы – откачки отходов или замены фильтрующего слоя.
Пластиковая декоративная крышка для канализационного люка в виде крупного натурального камня. Полностью закрывает входное отверстие, на фоне окружающей зелени выглядит вполне естественно
В последнее время принято маскировать канализационные сооружения, особенно в том случае, если они выглядят недостаточно эстетично. Для этой цели приобретают декоративные изделия, имитирующие зеленые насаждения или крупные камни.
Но не обязательно использовать покупной декор, можно из деревянных реек собрать изящную цветочную стойку и украсить ее цветущими растениями.
Выводы и полезное видео по теме
Несколько советов от профессионалов помогут вам определится с типом ямы и построить резервуар из бетонных колец по всем правилам.
Этапы строительства выгребной ямы с подробными комментариями:
Монтаж бетонных колец:
Полезная информация о люках:
Как видите, устройство выгребной ямы из бетонных заготовок доступно даже неопытному строителю. Но помните, что для строительства функционального сооружения необходимо соблюдение норм, выверенный проект, точные расчеты и, скорее всего, потребуется помощь монтажников.
Если вы не уверены в своих силах, подумайте о возможности установки накопительной емкости из пластика или даже заводского септика.
У вас есть личный опыт в сооружении выгребной ямы из ж/б колец? Хотите поделиться полезной информацией или задать вопросы по теме? Пожалуйста, оставляйте комментарии – форма для отзывов расположена ниже.



































